化工園區的規劃編制體系分析
來源:本站
發布日期:[2020-12-01]
發布者:
點擊次數:
經過多年的發展,我國化工園區的發展經歷了萌芽階段、發展壯大階段、優化發展階段和提質發展階段。目前,全國共有化工園區676家,園區間的建設與管理水平參差不齊,尚有60%以上產值低于100億元的小型園區處于建設發展的初級階段。部分園區存在布局規劃不合理、規劃體系不明、法定規劃缺失等問題,造成園區發展的不規范現狀。因此,梳理和完善化工園區的規劃編制體系十分重要。一、合理構架化工園區的規劃體系
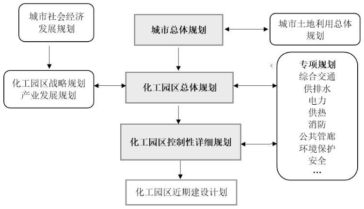
合理架構的化工園區規劃編制體系,將對優化資源配置、合理組織空間,確保化工區與城市協調、可持續發展起到引領作用,能為化工園區管理者做出的各項決策提供支撐保障。2020年11月該體系是依據我國現行《城鄉規劃法》中明確的總體規劃和詳細規劃兩個層次的法定規劃體系為基準。根據現行的行政管理體制,為保障實施的合法性及投資企業的合法地位,化工園區的規劃仍需基于現行城鄉規劃編制體系,其核心思想是以城鄉規劃(空間規劃)為基礎來保障法定規劃地位,通過各類專項規劃來協調城鄉規劃物質空間的沖突,實現以產業發展規劃“定目標”、土地利用規劃“定指標”、環境保護規劃“定底線”的多規合一。

化工園區產業發展規劃編制的依據是所在城市的社會經濟發展規劃,是地方政府依據國家的相關產業政策對本地區提出的業態發展愿景的體現,是化工園區確定發展思路、發展目標、指標體系的重要依據。通過此項規劃可明確化工園區的細分定位、主導產品、負面清單和經濟效益,內容包括規劃石化產品的方案及規模,所需原料、水、電、汽等公用工程資源的品種及規模,對所在區域的交通、環境的影響等?;@區產業發展規劃是化工園區總體規劃、區域規劃環評及其他專項規劃的編制依據,也是化工園區產業發展目錄的指導性文件。編制化工園區產業發展規劃應認真分析所在地區現有各類資源情況及承載能力(土地、環境、能源、原料等)以及交通、物流等基礎設施條件,充分考慮規劃石化產品的市場容量,合理確定發展規模,制定出符合當地特點、符合市場需求的具有較好的經濟效益的產品鏈條。同時,產業發展規劃還需結合所在城市的總體規劃、自然條件等情況,對所需配套的重大交通基礎設施和市政基礎設施如熱電廠、變電站、污水處理廠等做出初步安排。
三、化工園區的總體規劃化
工園區作為城市的新型功能區,其總體規劃在現行規劃編制體系中應隸屬于城鄉總體規劃中的分區規劃,肩負著有效銜接城市總體規劃和控制性詳細規劃的使命,向上是對城市總體規劃成果的深化和轉化,向下則是控制性詳細規劃的編制的依據?;@區總體規劃是法定規劃,一般納入所在城市的總體規劃一并報批。化工園區總體規劃是在園區產業發展規劃提出的發展思路指導下,對化工園區內物質空間進行功能、規模、性質的排定,并與化工園區外部的城市綜合交通、基礎設施、安全防災等各個方面協調統籌??傮w規劃成果是各相關主管部門博弈、協調后的結果,既反映了化工園區快速發展的需求,也關注了功能結構的合理、資源布局的均衡和空間發展的有序?;@區開發建設過程中對于入園企業及區內的各項基礎設施配套、公用工程項目的規劃管理都將依據控制性詳細規劃執行。現行《城鄉規劃法》背景下控制性詳細規劃一經批復必須嚴格執行,是不能輕易調整的。為了確??刂菩栽敿氁巹澋目刹僮餍裕@區總體規劃這一銜接性次區域規劃的作用更加凸顯,編制工作應包含發展戰略、空間規劃和分區圖則的綜合成果,體現具有剛性和彈性雙重屬性的合理控制要求。在編制過程中,化工園區總體規劃要與土地利用總體規劃良好銜接?;@區的總體規劃在符合城市總體規劃的同時,必須符合相同的規劃年限的土地利用總體規劃,即相同規劃期內化工園區的用地邊界既要與城市總體規劃中城鎮增長邊界一致,也要與土地利用總體規劃中建設用地控制邊界一致。
四、化工園區的控制性詳細規劃化
工園區依據總體規劃提出的各項目標、指標分解落在相應的規劃空間中,賦予土地以一定的屬性。經批準的控制性詳細規劃是開展各項開發建設活動的法定規劃,是城鄉規劃管理部門對所有建設項目實施規劃管理、核發行政許可(建設工程用地許可和建設工程規劃許可)的法律依據,對化工園區開發建設的合法性具有不可替代的意義。控制性詳細規劃的編制涉及國土、水利、交通、能源、環保、消防、安全、公共管廊等各類專項規劃,需對專項規劃提出的各類用地需求一一落實,科學安排土地利用,提出每一地塊的開發強度,專家采集。提出容積率、建筑密度、綠地率、建筑高度、六線退讓等各類控制指標。控制性詳細規劃實施細則中地塊的控制性指標,是土地掛牌出讓時的剛性約束指標。需要特別指出的是,雖然有產業發展規劃的引導,但石化產品的產業鏈延伸取決于市場與企業的抉擇,故化工園區的招商項目存在一定的不確定性,因此在面向市場的發展過程中,控制性詳細規劃的用地控制應提供的是一種將市場的可能性落實于空間地域上的框架,即要留有足夠的彈性,對產業發展配套的重要基礎設施如污水處理廠、熱電廠、消防站、固體廢物處置、危險化學品停車場等要留有充分的余地,并在規劃管理過程中嚴格控制。
五、化工園區的專項規劃化工園區的專項規劃
包括總圖運輸(綜合交通)規劃、給排水規劃、供電工程規劃、電信工程規劃、供熱工程規劃、公共管廊規劃、消防規劃、環境保護規劃等,涉及岸線利用的還應有港口規劃。這些規劃都不是法定規劃,但都涉及空間規劃,需要在進行空間組織時,滿足各專項規劃提出的用地需求。因此,在總體規劃編制階段,應依據產業發展規劃提出的發展思路、發展目標,各類專項規劃提出的總體要求,遵循六個“一體化”的建設發展理念對化工園區各類基礎設施及公用工程的規模、用地做出總體部署;在控制性詳細規劃編制階段需結合各類專項規劃提出的具體需求逐一確定核實用地規模,并明確規劃條件?;@區內入園企業生產過程中所涉及的原料、中間產品、副產品和廢棄物絕大多都具有易燃、易爆、有毒、有害、腐蝕的特性,這些具有潛在危險的特性決定了化工園區與普通工業園區相比,化工園區專項規劃有其特有的規劃理念和手法,如:綜合交通規劃的交通組織中要遵循石化產業人流、物流的集散特點,要提前考慮化工園區的封閉管理,危險化學品車輛的停放、清洗等;電力規劃中架空的電力線路盡量不緊臨產業用地;公共管廊規劃需根據化工園區滾動發展的需求適度超前的布局公共管廊系統;供熱規劃應充分分析平衡入園企業可能的用汽需求,合理確定供汽的壓力等級等。
六、多規合一的意義
許多城市之前的總體規劃沒有考慮到化工園區的發展,因而存在相當數量的化工園區在設立之初的選址很難完全符合當地的城市總體規劃和土地利用總體規劃,常遭遇“建設項目等規劃調整”的尷尬,嚴重制約化工園區的健康發展。生態保護紅線實質上是一個區域生態環境安全的底線,而區域資源環境承載約束的是化工園區開發建設的天花板,產業發展規劃和總體規劃必須嚴格遵守。住建部發文推行城鄉多規合一,國土資源部也在進行永久性基本農田的劃定工作。因此,在總體規劃方面還存在問題的化工園區應抓緊機遇盡快與所在城市的城鄉規劃部門協調對接,使化工園區總體規劃納入城市總體規劃的修編;同時與所在城市的國土部門落實將永久基本農田的邊界劃定在化工園區的建設范圍以外。要實現化工園區規劃編制體系的多規合一,在總體規劃編制過程中要體現化工園區作為城市新型功能區的精簡、高效的特征,從規劃組織階段就改變“規劃分治”的亂象,建立多規聯動的規劃編制組織模式,統一組織、協調產業發展規劃、總體規劃、專項規劃的委托、編制、咨詢、協商、實施等環節。
化工園區作為城市的特殊功能區,面對的是一個由國際國內市場推動的、不斷變化生長的外部環境。通過合理、高效的規劃編制體系來引導、服務好入園企業,通過堅守底線而靈活的規劃實施統籌、實現滾動發展,通過良好的運行機制將規劃轉化為現實的競爭力是化工園區存在的意義。